免费视频|新人指南|投诉删帖|广告合作|地信网APP下载

查看: 2420|回复: 5
收起左侧

[经验分享] 坐标系常见问题

[复制链接]

32

主题

15万

铜板

25

好友

高级工程师

Rank: 9Rank: 9Rank: 9

积分
954

精华勋章

发表于 2021-9-8 17:26 | 显示全部楼层 |阅读模式

01 如何查看数据坐标系?
方法一:在目录窗口中,数据属性中查看。
方法二:在内容列表中,图层属性中查看。

02 如何检查数据位置大致是正确的?
拿到一份研究区的数据,这份数据和研究区的其他数据无法叠加到一起。查看了一下,坐标系和其他数据是一样的。但是,坐标系一样,并不代表数据的位置就一定正确,需要进一步检查。

新建一幅地图,加入待检查的数据。在地图属性中,将显示单位设为十进制度。


在状态栏看下鼠标的经纬度,判断一下数据是否在研究区的经纬度范围内。


Pro中经纬度范围值是±180。如果超过这个范围,或是超过了研究区的范围,那我们可以知道,这个坐标系是不对的。
03 什么是定义投影?
数据的坐标系是未知,或是坐标系指定的不正确,需要重新指定一下坐标系,这个过程是定义投影。可以使用工具箱中的【定义投影】工具,或是在目录中,数据的属性中定义。
04 数据不知道是什么坐标系,怎么处理?
拿到一份未知坐标系的数据,又无从查到数据原本使用的是什么坐标系,怎么办?答案是猜。猜不对或是不会猜的情况下,可以参考以下方法。

可以先加载相同区域的位置正确的数据,然后再加载未知坐标系的数据,全图查看一下两份数据的位置。

对于矢量数据,可以通过平移或是空间校正,将数据校正到正确的位置。对于栅格数据,可以通过地理配准将数据校正到正确的位置。
05 什么时候需要投影?
和面积、长度相关的计算或分析,建议使用投影坐标系。转投影坐标系时,矢量数据使用【投影】工具,栅格数据使用【投影栅格】。

注意:要使用投影变换,不能使用【定义投影】工具。
06 投影后的结果数据,和原数据还是重合的,位置形状都未变化
数据有投影,地图也有投影。地图会读加载的第一份数据的投影。接下来加载的数据,都会动态的变换到地图的投影(源数据不会发生变化)上显示,这个过程是动态投影。

投影后的结果数据,和原数据还是重合的,是发生了动态投影。可以新建个地图,加载投影后的数据再看一下。
07 西安80转CGCS2000,如何选择地理坐标变换?
需要先计算七参数,然后使用工具【创建自定义地理(坐标)变换】定义地理坐标变换。变换方法使用COORDINATE_FRAME(坐标框架)。

生成的gtf文件会存储在:
C:\Users\<用户>\AppData\Roaming\
Esri\ArcGISPro\ArcToolbox\CustomTransformations

进行投影变换的时候会自动读取此文件。
08 ArcMap可以计算七参数吗?
不可以。可以使用其他工具计算七参数,比如笑脸(Coordinate)软件。
09 ArcGIS Pro支持四参数变换吗?
不支持。支持三参数或七参数。
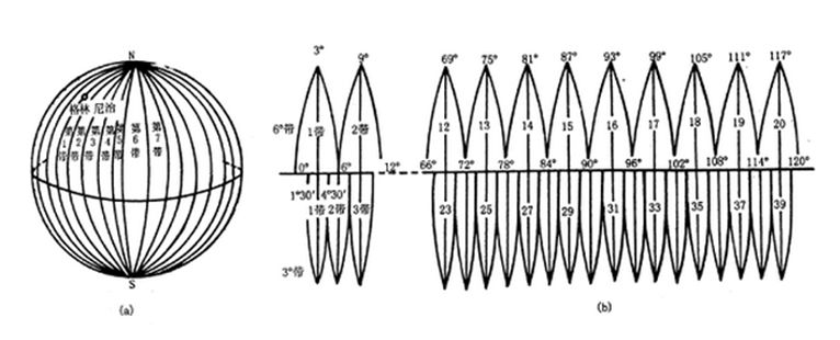
10 投影坐标系为什么有带号?
先说下数据为什么要分带。数据投影后或多或少都会发生变形,分带是为了减小变形。我国100万以下地形图,使用的是高斯克吕格投影,分3度带和6度带。

每个带中的坐标系是独立的。赤道和中央经线的交点坐标都是(0,0)。如果不加带号,跨1带和2带的数据,这两个交点显示的时候会发生重合,所以需要使用带号区分。

如果数据有带号,在ArcMap的状态栏中,X坐标的整数是8位数字,前两位是带号。
11 ArcGIS中带号命名规则是什么?
ArcGIS中高斯克吕格投影的命名规则是:
  • 有3是3度带
  • 有CM(表示中央经线)表示不带带号
  • 有N表示不带带号


对于后两点,可以查看坐标系的伪东偏(东偏移量)。高斯克吕格投影,为了避免经度出现负值,所以向东偏移500公里。如果东偏移中,500公里前面有数字,就是有带号。

12 如何计算带号?
高斯克吕格中央经线和带号的换算:
6度带:中央经线= 6 *带号-3
3度带:中央经线= 3 * 带号
6度带:带号= int(中央经线/6)+1
3度带:带号 = int(中央经线/3+0.5)

Web墨卡托投影分度带选择方法:
北半球地区,选择最后字母为“N”的带
可根据公式计算,带号=int(经度整数位/6)+31
13 数据跨带,如何选择投影?
可以使用全球范围的投影,比如Lambert、Albers、Web墨卡托等。也有将数据都投影到一个带上的做法。研究区跨45、56、47带,将45、46投影到47带。

0

主题

269

铜板

3

好友

技术员

Rank: 3Rank: 3

积分
20
发表于 2021-9-8 18:27 | 显示全部楼层
讲得很好,就是图片看不到
回复 支持 反对

使用道具 举报

0

主题

1万

铜板

3

好友

至尊VIP

Rank: 24Rank: 24Rank: 24Rank: 24Rank: 24Rank: 24

积分
1280
发表于 2021-9-8 21:25 | 显示全部楼层
楼主,图挂了,看不到:bq:bq
回复 支持 反对

使用道具 举报

14

主题

2万

铜板

28

好友

地信名人堂

Rank: 19Rank: 19Rank: 19Rank: 19Rank: 19Rank: 19

积分
2572

精华勋章爱心勋章地信元老灌水勋章荣誉会员勋章活跃勋章地信专家组贡献勋章成就学员勋章

QQ
发表于 2021-9-8 21:29 | 显示全部楼层
回复

使用道具 举报

3

主题

5万

铜板

6

好友

资深会员

Rank: 18Rank: 18Rank: 18Rank: 18Rank: 18

积分
3925

精华勋章冰雪节勋章童话节勋章12周年纪念勋章

发表于 2021-9-9 08:40 | 显示全部楼层
楼主讲得很好。
回复 支持 反对

使用道具 举报

0

主题

1万

铜板

3

好友

黄金会员

Rank: 23Rank: 23Rank: 23Rank: 23Rank: 23Rank: 23Rank: 23

积分
4798
发表于 2024-4-2 22:17 | 显示全部楼层
共同学习、共同交流、共同分享、共同提高
回复 支持 反对

使用道具 举报

您需要登录后才可以回帖 登录 | 立即注册

本版积分规则

在线客服
快速回复 返回顶部 返回列表